日丰荣获第二十五届中国专利优秀奖,创新助推高质量发展

2025-12-04 899次浏览 分享到:

日丰荣获第二十五届中国专利优秀奖,创新助推高质量发展

近日,第十四届中国国际专利技术与产品交易会开幕式暨第二十五届中国专利奖颁奖大会在大连国际会议中心隆重召开。本届大会以“专利转化运用赋能创新发展”为主题,由国家知识产权局主办、大连市人民政府承办,旨在推动专利技术成果转化,助力新质生产力发展,吸引了全球知识产权领域专家学者、企业代表及国际组织参与。日丰企业集团有限公司(以下简称“日丰”)凭借专利“三通管件装配设备及方法”斩获中国专利优秀奖(专利号:ZL201510476706.X),这一殊荣不仅是对日丰在管道装备核心技术领域创新突破的高度认可,更是日丰践行专利转化运用、以硬核技术赋能产业高质量发展的有力印证。

日丰中国专利优秀奖证书

 

中国专利奖由国家知识产权局和世界知识产权组织共同主办,是我国专利领域的最高荣誉,其评选结果得到联合国世界知识产权组织(WIPO)的认可,具有高度的权威性和全球影响力。该奖项评选标准涵盖专利质量、技术先进性、市场转化及社会效益等多个维度,已成为体现企业科技创新实力的硬指标。本次获颁中国专利优秀奖,是日丰长期坚持创新驱动发展战略、深耕管道行业技术升级所取得的重要阶段性成果,意味着日丰产品研发实力和技术创新能力再添国字号背书!

第十四届中国国际专利技术与产品交易会开幕式暨第二十五届中国专利奖颁奖大会现场

 

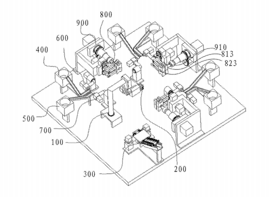
作为日丰的一项重要创新成果,“三通管件装配设备及方法”专利创新性地解决了三通管件装配工程中面临的效率低下、装配精度低等“卡脖子”问题。“三通管件装配设备及方法”通过优化结构设计,采用模块化组装方式,实现了设备的快速拆装与维护;同时,利用精密控制技术,保证了装配过程中的高精度与稳定性。随着这一专利的推广与应用,将显著提高三通管件的生产效率,确保产品质量的稳定性和可靠性,同时还将以技术辐射效应带动行业内相关技术的革新与发展,激发产业链上下游企业的创新活力,为整个行业的进步贡献力量。

三通管件装配设备结构示意图

 

作为国家技术创新示范企业,日丰始终将科技创新视为企业发展的核心动力,走知识产权强企之路,构建起一套涵盖知识产权创新、保护、运用、管理和服务的全链条综合管理机制。截至2025年,日丰累计荣获1000余项国内外专利,多项专利成果已成功实现市场化应用,以技术优势与可靠品质赢得用户的青睐。在积极推进自身发展的同时,日丰还累计主导及参与110余项国家及行业标准制定,致力以深厚的技术积淀与丰富的实践经验,持续助推行业向规范化、标准化方向稳健前行。

日丰技术中心

 

专利是创新的勋章,更是责任的重量。日丰将继续以创新为翼,以市场需求为锚,持续加码研发投入,深化新技术、新材料、新工艺、新产品开发和应用,加速推进行业高质量发展的步伐,为创造更美好、更高品质的人居空间贡献兼具技术高度与服务温度的“日丰方案”!